3. Ülesanne – töö kasutajagruppidega (rollidega)

1.


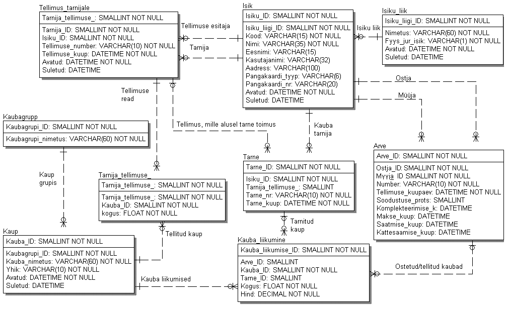
Olen loonud teie jaoks andmebaasi TARNE struktuuri kirjelduse. Olemas on nii ERD-skeem kui ka SQL-skript andmebaasi loomiseks. Et asja natuke põnevamaks teha olen ERD-Case süsteemi ErWin abil loonud nii skeemid kui ka skriptid kolme erineva andmebaasisüsteemi jaoks – SqlBase, Oracle Ja Access jaoks.

Skeemid leiate BMP-kujul siit: SqlBase Oracle Access

Sql-laused andmebaasi loomiseks TXT-kujul leiate siit: SqlBase Oracle Access 

2.


Võrrelge omavahel erinevaid skripte ja kirjeldage vabas vormis, millised on erinevused. Tähelepanu tahaks juhtida sellele, et kas nendest (SqlBase ja Oracle) on SQL-käskude jadad ja kolmas (Access) ODBC skript.

3.


Looge SqlBase andmebaasi loomise skriptiga andmebaas TARNE.

4.


Firmal, mis seda andmebaasi kasutab, on järgmised kasutajate grupid järgmistes ülesannetes:
    a) Administraator – kasutajate haldamine
    b) Operaator – kaubagruppide, kaupade ja klientide haldamine
    c) Kaubatundja – kaupade tellimine tarnijatelt ja nende saabumise kontroll
    d) Tellija – on-line (läbi interneti) kaupu telliv klient
    e) Saadetiste komplekteerija – komplekteerib tellija poolt tellitud kaubad laos ja teeb selle kohased kanded
    f) Laohoidja võtab kaubad lattu vastu ja saadab need sealt välja.
    f) Raamatupidaja – maksab kaupade eest tarnijatele ja väljastab klientidele arveid, ning jälgib arvete laekumist.

Kirjeldage nende kasutajate õigused andmebaasil - millisesse tabelisse on mingil kasutajagrupil õigus andmeid kirjutada, millisest andmeid lugeda ja kustutada ning millises andmeid uuendada. Tehke seda esialgu vabas vormis. Mugav oleks vist kasutada risttabelit, kus ridadeks oleks klasutajagrupid, veergudeks tabelite nimetused ja vastavas rist-lahtris selle kasutajagrupi õigused sellele tabelile, mis tabeli antud lahtris „kokku saavad“.

5.


Looge kasutajategrupide kirjeldamise mehhanism. Juhin tähelepanu sellele, et antud andmebaasisüsteemis kasutajategruppe pole (mis on ka üheks põhjuseks, mis me harjutamiseks just seda andmebaasisüsteemi kasutame). Selleks, et kasutajagruppe baasi luua peate te tegema ise andmebaasi lisatabelid, kuhu õigused kirjeldada saab. Pärast saab nendest tabelitest SQL-lausetega moodustada õiguste andmise laused.

Selleks et teile väikest vihjet anda (päris kõike ei taha ära rääkida, muidu jääks teile ainult mehaaniline töö) lisan siia paar faili, kus on kaks näidet nende SQL-lausete kohta, millega neid õiguste jagamise SQL-käske moodustada saab. Üks nendest on veidi lihtsam ja teine keerulisem

Tahaks veel hoiatada, et selle kõige tegemine siin võtab päris tükk aega.

Vihje: Teil tuleb nüüd teha eraldi tabelid kasutajagruppidest ja kasutajate õigustest, kus on näha:

a)   millised kasutajagrupid on olemas ja millised õigused neil kasutajagruppidel on (ka see millisel kuupäeval mingi õigus on antud või ära võetud) ja millisel kuupäeval kasutajagrupp loodud või kustutatud.

b)   registreeritud kasutajad (millal tehtud, millal deaktiviseeritud), millised õigused, millal antud ja millal ära võetud.

6.


Looge andmebaasis füüsilised kasutajagrupid ja iga grupi alla mõned kasutajad

7.


Looge kasutaja kes on nii kaubatundja kui ka raamatupidaja.

8.


Looge kaks kasutajat, kes on korraga nii kaubatundja, komplekteerija kui ka operaator.

9.


Võtke neist ühelt ära operaatori õigused.

10.


Hävitada raamatupidaja ja kaubatundja kasutajagrupp ja luua ühtne raamatupidaja-kaubatundja kasutajagrupp. Juhin tähelepanu asjaolule, et baasist midagi füüsiliselt kustutada ei tohi – tohib ainult sulgeda kuupäevaga, sest ka kõik kunagi kehtinud õigused peavad baasis näha olema.

11.


Andke kõigile kelle olid enne „kustutatud“ grupi õigused nüüd uue just äsja tehtud grupi õigused.
 

NB!


ÄRGE UNUSTAGE PROTOKOLLIDA TÖÖ KÄIKU !